全部服务分类
  • 商标注册1专区

  • 申请商标专区

  • 商标套餐专区

  • 白酒商标转让专区

  • 商标转让专区

  • 版权登记专区

  • 城市商标注册专区

  • 中国商标转让专区

more

你买的是正版“泰芒了”吗?

*截止 ,共有人阅读了本文。

推荐阅读:你买的是正版“泰芒了”


  2015年,“泰芒了”横空出世。不过,在短短几年时间里,长沙街头就冒出了30多家“泰芒了”,全国有多少家就不得而知了。更甚者,不仅仅山寨了你的店,还抢注你的商标!

  网红饮品“泰芒了”你喝过吗?

你买的是正版“泰芒了”吗?

  2015年,“泰芒了”横空出世,号称每一颗芒果都是从泰国空运回来,超大杯的包装、实惠的价格迅速攻略了消费者,短短几年就占领了各大街头巷尾。底下是香浓的芒果汁,其上铺一层厚厚的奶油,最上面是堆成小山的芒果块,简直满足了芒果控所有的幻想!超高的颜值也获得了绝大多数年轻人的青睐,捧着一杯“泰芒了”拍上一张美美的自拍po上朋友圈,点赞都能点到手软。

  既然网红店那么“走俏”,想要在这大红利里分一杯羹的人自然也是不会少。在短短几年时间里,长沙街头就冒出了30多家“泰芒了”,全国有多少家就不得而知了。

  更甚者,不仅店被山寨,商标还被抢注!

你买的是正版“泰芒了”吗?

  近日,根据商评委发布的商标无效宣告请求裁定书显示:赖三金(厦门)餐饮管理有限公司(以下简称赖三金公司)于2018年10月12日对第19311361号“泰芒了taimangle”商标提出无效宣告请求。

你买的是正版“泰芒了”吗?

  第19311361号“泰芒了taimangle”商标

  商评委裁定: 争议商标予以维持。

  对于这样一结果,不知道以后市场上会不会出现两个“泰芒了”饮品。

  
赖三金公司和他的“泰芒了”

  商标局网站查询发现,目前共有“泰芒了”申请商标90件;

你买的是正版“泰芒了”吗?

  而属于赖三金公司的共有19件,这些商标目前有的已申请成功,有的处于驳回复审中。

你买的是正版“泰芒了”吗?

  根据企查查资料显示:"泰芒了"为赖三金公司于2015年推出的旗下饮品品牌,以赖氏烤鸭卷、香酥鸭骨、芒果大冰杯、范冰冰果冻为主打产品,旗下赖皮鸭与泰芒了已在厦门地区拥有多家直营连锁店,并在大陆多个省份及美国地区开有连锁加盟店。

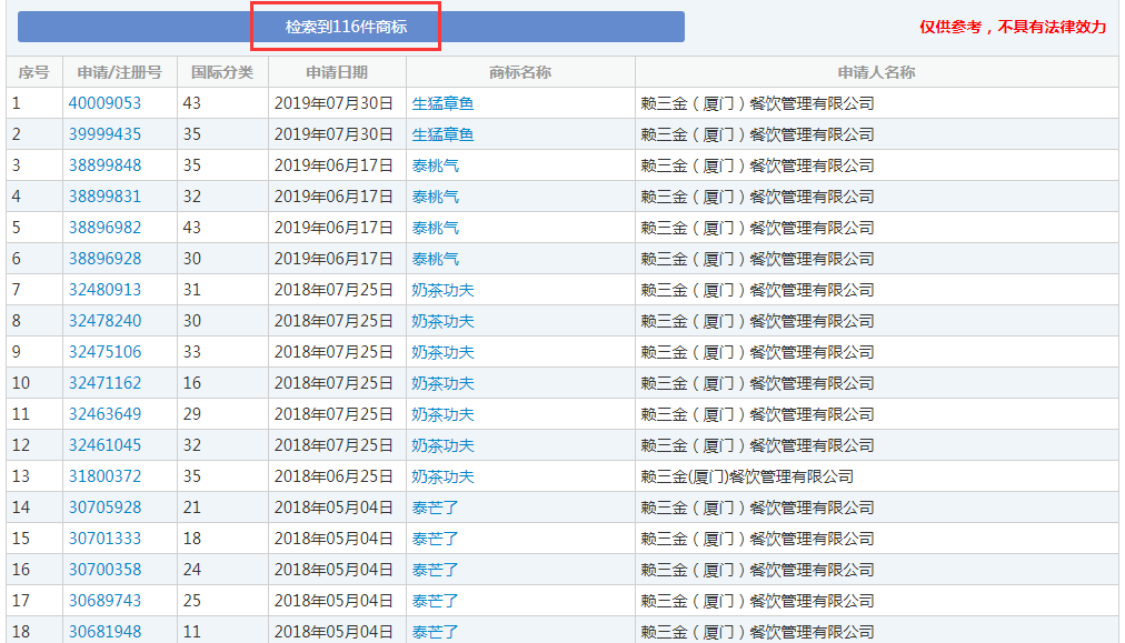
  商标局网站查询得知,赖三金公司目前共申请商标116件,包括“泰芒了、泰荔嗨、泰桃气、鸡珍香、肠城”等商标。

你买的是正版“泰芒了”吗?

  2014年11月2日申请了第一件商标“鸡珍香”,目前核准使用在第43类“住所代理(旅馆、供膳寄宿处); 咖啡馆; 自助餐厅; 饭店; 快餐馆; 流动饮食供应; 茶馆; 旅游房屋出租; 养老院; 日间托儿所(看孩子)”。

你买的是正版“泰芒了”吗?

  2015年12月5日,赖三金公司才申请了第一件“泰芒了”商标,目前核准使用在第43类“餐馆; 饭店; 快餐馆; 酒吧服务; 流动饮食供应; 茶馆; 住所代理(旅馆、供膳寄宿处); 自助餐厅; 咖啡馆; 烹饪设备出租”。

你买的是正版“泰芒了”吗?

  且同时期向其他区域申请了“泰芒了”商标,现已取得部分商标注册证书。

你买的是正版“泰芒了”吗?

  香港泰芒了商标证书

你买的是正版“泰芒了”吗?

  台湾“泰芒了”商标证书

你买的是正版“泰芒了”吗?

  澳门“泰芒了”商标证书

你买的是正版“泰芒了”吗?

  新加坡“泰芒了”商标证书

你买的是正版“泰芒了”吗?

  马来西亚“泰芒了”商标证书

  你买的是正版“泰芒了”吗?

  2016年5月底,因泰芒了项目火爆,市场上出现了广州某舜达公司也使用“泰芒了”招商,同样经营饮品店。赖三金公司调查发现,这家广州某舜达餐饮在其网站、微信公众号与网络搜索平台也推出相同名称“泰芒了”饮品店招商,在部分招商资料里,使用了赖三金公司“泰芒了”厦门店与广州店的图片为其宣传。2016年8月赖三金公司将广州某舜达公司起诉至广州白云区法院。

  2017年1月,赖三金公司申请的“泰芒了”商标获得初审公告,接着这家广州某舜达公司对“泰芒了”商标提出了异议。同年赖三金公司以不正当竞争为由,将广州某舜达公司告上广州白云区法庭,赖三金公司获得停止侵权,赔偿十万元损失的初审胜诉。

你买的是正版“泰芒了”吗?

你买的是正版“泰芒了”吗?

  2017年11月赖三金公司发现这家广州某舜达公司再次使用赖三金餐饮门店图片用于招商宣传,遂第二次起诉至广州白云区法院,第二次获得赔偿五万元损失的胜诉。

你买的是正版“泰芒了”吗?

  2018年11月12日, 据北京海淀法院网消息称,因认为其注册的商标“泰芒了”未经许可被粒东饭饭(北京)餐饮有限公司擅自使用在店铺牌匾、宣传彩页、冷饮产品等上面,赖三金公司以侵害商标权纠纷为由将该公司诉至法院,要求被告立即停止侵犯商标专用权、停止使用“泰芒了”标识、赔偿损失及合理费用6万元。

  企查查数据显示:粒东饭饭(北京)餐饮有限公司成立于2016年11月25日,主要经营餐饮和销售食品。商标网上目前没有查询到商标申请情况。

  目前,此案正在进一步审理中。

   结语

  小编只想说:“常在河边走,哪有不湿鞋”。

  来源:IPRdaily

  如果喜欢一品知识产权的文章,可以关注一品知识产权 网,更多精彩的资讯等着您!



上一篇:沧州市新增2枚中国驰名商标,总数达36枚
下一篇:12件全部被驳回!碧桂园经典广告语申请失败


亿佰倍懂商标官方微信

欢迎关注亿佰倍懂

亿佰倍懂 微信号:K58158

热门TAGS


购买上海商标 商标复审 商标撤三答辩 商标驳回复审 国际商标驳回 知名商标转让 白酒商标网 19类商标转让 18类商标转让 17类商标转让 16类商标转让 15类商标转让 14类商标转让 13类商标转让 11类商标转让 12类商标转让 10类商标转让 9类商标转让 8类商标转让 7类商标转让 6类商标转让 5类商标转让 4类商标转让 3类商标转让 2类商标转让 1类商标转让 T恤商标转让 红酒商标转让 黄酒商标转让 水饺商标转让 糖果商标转让 闲置商标转让 商标购买网站 月饼商标转让 购买月饼商标 购买牛奶商标 牛奶商标转让 购买餐饮商标 餐饮商标转让 啤酒商标转让 购买啤酒商标 购买酒类品牌 酒类品牌转让 购买饮料商标 饮料商标转让 食品商标转让 购买食品商标 购买镀膜商标 镀膜商标转让 机油商标转让 购买机油商标 头枕商标转让 购买头枕商标 车衣商标转让 购买车衣商标 购买车贴商标 车贴商标转让 凉垫商标转让 睡袋商标转让 包子商标转让

联系方式

【商标网】
企业QQ:1728988888
手机: 18211558558
官方微信:K58158
广东(总部)北京(分部)深圳(分部)