全部服务分类
  • 商标注册1专区

  • 申请商标专区

  • 商标套餐专区

  • 白酒商标转让专区

  • 商标转让专区

  • 版权登记专区

  • 城市商标注册专区

  • 中国商标转让专区

more

超5000人被坑,上亿学费打水漂,暴雷的韦博英语

*截止 ,共有人阅读了本文。

推荐阅读:超5000人被坑,上亿学费打


  大面积“关店”

  超5000名学员被坑

  上亿元学费打水漂

  ……

  韦博英语出事了。

  国庆节后,韦博英语被曝多地学校人去楼空,高管跑路,欠薪已久。


超5000人被坑,上亿学费打水漂,暴雷的韦博英语,商标保护一言难尽

  ▲图片来源东方IC


  韦博英语创立于1998年,是一家有着21年历史的老牌英语培训机构,在全国62个城市拥有154个培训中心。

  目前,在北京、成都、上海等地,都出现了员工离职,学员停课,要求退费的现象。

  根据天眼查显示,韦博英语法人代表兼CEO高卫宇关联风险达81条。

超5000人被坑,上亿学费打水漂,暴雷的韦博英语,商标保护一言难尽

  商标保护更是一言难尽。

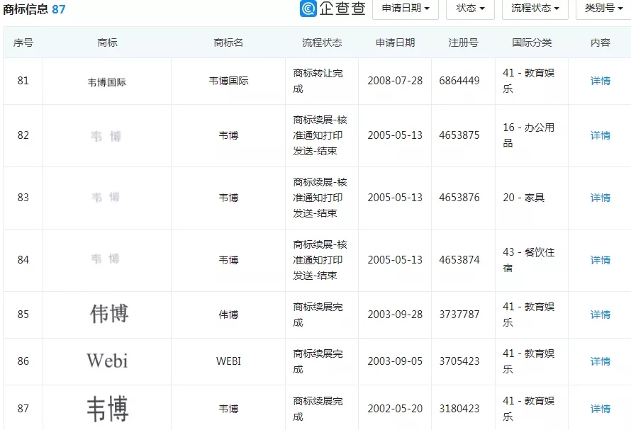
  经查询,上海韦博文化交流有限公司名下仅有87件商标,包括韦博、webi、伟博、韦博嗨英语……

  “韦博英语”文字商标,并没有被申请保护。

  虽说是线下培训机构,但只要是品牌,就和商标挂钩,就需要进行商标保护,尤其像韦博这种英语培训行业的名企,更应该对商标进行多方面的保护,在这一点上,韦博英语的知识产权意识有待提高。

超5000人被坑,上亿学费打水漂,暴雷的韦博英语,商标保护一言难尽

  眼下我们除了关注商标,可能更关心韦博英语怎么会出事。

  韦博英语的创始人高卫宇不久前在公开信中解释,公司业绩下滑、运营出现困难、原定的融资计划也被不断推迟,导致资金链断裂……

  员工讨薪、学员维权,韦博英语四面楚歌,它能迈过这个难关吗?

  关注一品知识产权,任何商标方面的需求,欢迎加VX:yipinweike9977 咨询~



上一篇:小编谈谈:为什么互联网企业都注册第9类商标
下一篇:富贵鸟破产资产2.27亿二次拍卖!数百商标、专利


亿佰倍懂商标官方微信

欢迎关注亿佰倍懂

亿佰倍懂 微信号:K58158

热门TAGS


购买上海商标 商标复审 商标撤三答辩 商标驳回复审 国际商标驳回 知名商标转让 白酒商标网 19类商标转让 18类商标转让 17类商标转让 16类商标转让 15类商标转让 14类商标转让 13类商标转让 11类商标转让 12类商标转让 10类商标转让 9类商标转让 8类商标转让 7类商标转让 6类商标转让 5类商标转让 4类商标转让 3类商标转让 2类商标转让 1类商标转让 T恤商标转让 红酒商标转让 黄酒商标转让 水饺商标转让 糖果商标转让 闲置商标转让 商标购买网站 月饼商标转让 购买月饼商标 购买牛奶商标 牛奶商标转让 购买餐饮商标 餐饮商标转让 啤酒商标转让 购买啤酒商标 购买酒类品牌 酒类品牌转让 购买饮料商标 饮料商标转让 食品商标转让 购买食品商标 购买镀膜商标 镀膜商标转让 机油商标转让 购买机油商标 头枕商标转让 购买头枕商标 车衣商标转让 购买车衣商标 购买车贴商标 车贴商标转让 凉垫商标转让 睡袋商标转让 包子商标转让

联系方式

【商标网】
企业QQ:1728988888
手机: 18211558558
官方微信:K58158
广东(总部)北京(分部)深圳(分部)