全部服务分类
  • 商标注册1专区

  • 申请商标专区

  • 商标套餐专区

  • 白酒商标转让专区

  • 商标转让专区

  • 版权登记专区

  • 城市商标注册专区

  • 中国商标转让专区

more

诛仙电影三天破三亿,网游《青云志》却因诛仙

*截止 ,共有人阅读了本文。

推荐阅读:诛仙电影三天破三亿,网


  说起近期上映的电影,《小小的愿望》和《诛仙Ⅰ》可以算是中秋电影档两大看点了,截止目前为止《诛仙Ⅰ》电影已突破3.6亿,创造了单日票房新纪录。

  不得不说这几位演员的流量还是蛮强大的,电影诛仙在中秋节开播就取得了过亿的好成绩,赚得了票房的同时,也让粉丝和书迷们开心的看了电影,又过了中秋节。

诛仙电影三天破三亿,网游《青云志》却因诛仙被索赔500万?

  《诛仙Ⅰ》电影这边正在火热上映,但是一个和诛仙沾了边的手游却因和诛仙而被告上法庭。

  2016年,正当诛仙改编的电视剧《青云志》火热开播的时候,深圳华宇大通网络科技有限公司(简称华宇大通),开发的一款手游《一剑诛仙》却被起诉侵权。

  据了解,完美世界(北京)软件科技发展有限公司(简称完美世界)认为华宇大通公司开发的《一剑诛仙》手机游戏,使用了近似“诛仙”商标的行为侵犯了其商标专用权。

  要求其停止运营、开发、更新《一剑诛仙》游戏,赔偿损失50万元并且赔偿合理支出5.5万元。

  华宇大通公司使用的多款《诛仙》系列游戏中的坐骑形象,侵犯了其著作权;使用《诛仙》系列游戏的“天音”职业名称和“碧瑶”人物名称,构成不正当竞争。

诛仙电影三天破三亿,网游《青云志》却因诛仙被索赔500万?

  完美世界表示旗下网络游戏《诛仙》系列是公司与《诛仙》作者萧鼎签约合作开发完成的,具有较高的知名度。

  完美世界在计算机游戏软件 等商品以及提供在线游戏等服务商上对“诛仙”享有商标专用权,有权禁止他人在游戏产品上使用近似商标。

  除了手游《一剑诛仙》被起诉侵权,要求赔偿50多万元之外,电视剧《青云志》授权的网页游戏也被告上了法庭。

诛仙电影三天破三亿,网游《青云志》却因诛仙被索赔500万?

  完美世界诉网游《青云志》侵权,索赔500万元

  在2016年,完美世界一纸诉状将广州华多网络科技有限公司(简称华多公司)诉至法院,要求赔偿损失500万元。

  原来在2016年7月28日,华多公司运营的《青云志》网页游戏上线,华多公司未经授权,在游戏中大量使用了《诛仙》小说人物以及场景。 如“张小凡”、“碧瑶”、“陆雪琪”、“田不易”以及“青云派”、“空桑山”等。

  完美世界表示:从2006年时就从原作者出处获得小说《诛仙》及其元素的游戏独占改编权,并且为此支付了巨额授权费。

  基于以上事实,完美世界要求华多公司赔偿损失500万元,赔偿合理支出2500元。

诛仙电影三天破三亿,网游《青云志》却因诛仙被索赔500万?

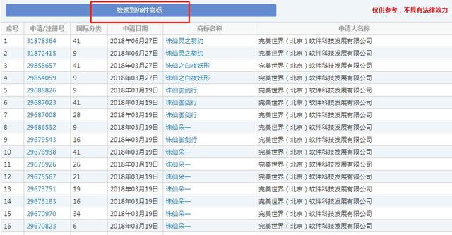
  据酷小二目前查询,“诛仙”商标现已被注册了170件,而完美世界就注册了98件,占了一半之多,可以说完美世界的知识产权意识十分到位了。

  在这次查询中,酷小二还专门查询了一下线下大火的电影《诛仙Ⅰ》公司注册是否相关商标,但是并没有查询到。

诛仙电影三天破三亿,网游《青云志》却因诛仙被索赔500万?

  不知《诛仙Ⅰ》是否也像哪吒一样,等到电影上映十多天之后在注册,但是项目未出商标先行应该是每个人都应该学会的商标保护意识。

  近年来,小说改编影视俨然成为整个文化娱乐行业发展潜力最大的蓝海。

  不过无论是小说改编成电视剧还是改编成电影和游戏,文化产业中侵权的问题常有发生,所以在改编运用知名IP的时候,必须注意版权和商标问题,以免造成侵权引起不必要的麻烦和损失。

  免责声明:1、文章部分文字与图片来源网络。2、因编辑需要文字和图片之间亦无必然联系,仅供读者参考。3、本文如无意中侵犯了媒体或个人的知识产权,请来电告知,我们将立即予以删除


上一篇:商标分类表太多,简化版来了,请收藏
下一篇:企业商标取名三词经:易读,统一,音译


亿佰倍懂商标官方微信

欢迎关注亿佰倍懂

亿佰倍懂 微信号:K58158

热门TAGS


购买上海商标 商标复审 商标撤三答辩 商标驳回复审 国际商标驳回 知名商标转让 白酒商标网 19类商标转让 18类商标转让 17类商标转让 16类商标转让 15类商标转让 14类商标转让 13类商标转让 11类商标转让 12类商标转让 10类商标转让 9类商标转让 8类商标转让 7类商标转让 6类商标转让 5类商标转让 4类商标转让 3类商标转让 2类商标转让 1类商标转让 T恤商标转让 红酒商标转让 黄酒商标转让 水饺商标转让 糖果商标转让 闲置商标转让 商标购买网站 月饼商标转让 购买月饼商标 购买牛奶商标 牛奶商标转让 购买餐饮商标 餐饮商标转让 啤酒商标转让 购买啤酒商标 购买酒类品牌 酒类品牌转让 购买饮料商标 饮料商标转让 食品商标转让 购买食品商标 购买镀膜商标 镀膜商标转让 机油商标转让 购买机油商标 头枕商标转让 购买头枕商标 车衣商标转让 购买车衣商标 购买车贴商标 车贴商标转让 凉垫商标转让 睡袋商标转让 包子商标转让

联系方式

【商标网】
企业QQ:1728988888
手机: 18211558558
官方微信:K58158
广东(总部)北京(分部)深圳(分部)