根据昨日美国专利商标局(USPTO)和世界知识产权组织(WIPO)公布的两项微软(Microsoft)新专利显示, 这家软件巨头可能准备在其 WindowsMR 系统中使用的一些改进。

这份名为 "Mixed Reality World Integration Of Holographic Buttons In A Mixed Reality Device(全息按钮的混合现实世界集成)" 的专利由世界知识产权组织于 1 月 3 日公布,而微软最初是在 2017 年 6 月提交申请。
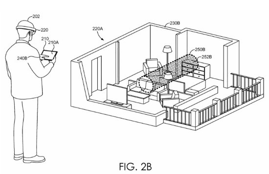
专利解释了用于混合现实世界的优化系统与方法。用户将体验包含全息按钮(如 3D 对象)的世界。全息按钮同时可以从网站进行下载。另外,微软指出用户在混合现实世界中可以通过全息按钮订购物品。
微软写道:" 专利说明的系统和方法是用于包含可以从商品、数据内容或服务提供者网站下载的全息按钮(如 3D 对象)的混合现实世界。通过与全息按钮的交互,全息按钮使得混合现实世界中的用户能够订购物品。用户可以相对于现实世界对象放置全息按钮。每当用户通过混合现实世界来与现实世界对象交互时,全息按钮可以与真实世界对象一起出现,并允许用户订购与该现实对象相关联的物品。"

另一份专利名为 "Annotation Using a Multi-Device Mixed Interactivity System(多设备混合交互系统的注释)"。微软最初是于 2017 年 6 月提交申请,并由美国专利及商标局于 2019 年 1 月 3 日公布。这份发明描述了用于一种包含承兑混合输入设备的多设备混合交互系统,可允许你控制虚拟对象并与之交互。
微软解释说:" 交互系统包括用于交互和控制虚拟对象的成对混合输入设备。选择输入基于与选择设备相关联的实际输入,以及与混合现实设备相关联的虚拟输入。系统将确定的选择输入生成选择文档。选择设备包含第一显示器,而混合现实设备则包含显示虚拟对象的第二显示器。"
专利摘要进一步显示:" 根据与选择文档对应的所选虚拟对象部分,系统将接受注释输入,并根据注释输入生成注释文档。注释文档包括用于注释虚拟对象一部分的注释文档属性,从而使得所选部分的注释显示在显示器上。"
想了解更多专利资讯,就上一品标局,、商标申请、版权登记,找我们就对了!这里有经验丰富的工作人员提供专利服务,如有需求请联系我们!
便捷链接:微软提交两项全新的专利
本文来源:网络?买卖商标注册授权入驻“天猫”“京东”“拼多多”“抖音头条”“商标百科”
版权说明:上述为转载或编者观点,不代表亿佰倍懂商标意见,不承当任何法律责任
亿佰倍懂商标官方微信
欢迎关注亿佰倍懂
微信号:K58158 热门TAGS
购买上海商标 商标复审 商标撤三答辩 商标驳回复审 国际商标驳回 知名商标转让 白酒商标网 19类商标转让 18类商标转让 17类商标转让 16类商标转让 15类商标转让 14类商标转让 13类商标转让 11类商标转让 12类商标转让 10类商标转让 9类商标转让 8类商标转让 7类商标转让 6类商标转让 5类商标转让 4类商标转让 3类商标转让 2类商标转让 1类商标转让 T恤商标转让 红酒商标转让 黄酒商标转让 水饺商标转让 糖果商标转让 闲置商标转让 商标购买网站 月饼商标转让 购买月饼商标 购买牛奶商标 牛奶商标转让 购买餐饮商标 餐饮商标转让 啤酒商标转让 购买啤酒商标 购买酒类品牌 酒类品牌转让 购买饮料商标 饮料商标转让 食品商标转让 购买食品商标 购买镀膜商标 镀膜商标转让 机油商标转让 购买机油商标 头枕商标转让 购买头枕商标 车衣商标转让 购买车衣商标 购买车贴商标 车贴商标转让 凉垫商标转让 睡袋商标转让 包子商标转让
联系方式
【商标网】
企业QQ:1728988888
手机: 18211558558
官方微信:K58158
广东(总部)北京(分部)深圳(分部)

*截止
,共有人阅读了本文。


40
加工服务